一、产品简介
经济型蓝屏无纸记录仪可与各类传感器、变送器配合,可以实现对温度、压力、液位、流量等过程量的测量、变换、显示、记录、转储、通讯和控制。采用了分辨率为128×64的图形点阵液晶,全中文显示界面,操作方便,显示内容丰富,包括测量值、工程量单位、报警信息、实时钟、实时曲线、历史曲线、记录功能。适用于电压、电流、热电阻、热电偶、mV、远传压力表等类型的信号。4点报警输出,可选择10种报警方式,报警灵敏度独立设定。具备延时报警功能,可记忆*近6次报警的通道、时间、报警方式。全透明、高速、有效的网络化通讯接口,实现计算机与仪表间的数据传送和控制。控制权转移功能使计算机可以直接控制仪表的报警输出、变送输出。4M内存用于测量值记录,可记录26万次数据。数据可通过历史曲线追忆,可通过通讯读取。具备USB接口,可随时将记录的历史数据转存到U盘上。
二、产品特点
●支持外接微型打印机,手动打印数据、曲线,满足用户现场打印的需求;
●支持标准串行通讯接口:RS232C和RS485,支持Modbus RTU协议;
●支持现场总线CAN传输,可实现总线通讯及总线控制功能;
●配备USB接口,兼容 1.1 、2.0 优盘,兼容非品牌U盘;兼容2G、4G、6G、8G、16G U盘;历史数据转存快捷方便;
●标准串行通讯接口:RS232C和RS485,支持Modbus RTU协议;
●采用有效绿色开关电源,交直流两用,85~264VAC或120~370VDC电压输入,输入频率范围47~63Hz;
●仪表集成硬件实时时钟,掉电情况下时钟也能**运行,更方便企业计量管理;
●多种附加功能可选:历史曲线、累积报表、变送输出等,注:开通附加功能需定制;
●采用高性能的ARM Cortex-M3 32位的RISC内核,可同时实现4路信号采集、记录、显示和2路报警;
●采用256M 大容量的FLASH闪存芯片存贮历史数据,掉电******丢失数据;
●物理全隔离输入,可同时输入多种信号,无需更换模块,通过软件组态即可;
●显示工程量数据的数值范围更宽,可显示4 位数值:-999~9999;
●剪贴板的复制和粘贴功能方便用户的参数设置;
●2路继电器报警输出,同时指示各路报警的下下限、下限、上限、上上限报警。
三、技术参数
1、屏幕:128*64点阵蓝屏液晶显示器(LCD)
2、精度:实时显示:±0.2% F.S.;追忆精度:±0.2% F.S.
3、处理器:采用高性能的ARM Cortex-M3 32位的RISC内核,可同时实现多路信号采集、记录、显示和多路报警
4、存储模块:采用大容量并行NAND FLASH闪存芯片存贮历史数据,采用串行FRAM存储芯片存贮系统配置参数等关键信息
5、输入规格:全隔离输入,**支持4路模拟量输入+1路频率输入
6、输入功能:
●电压输入:0-5V、1-5V、0-20mV、0-100mV
●电流输入:0-10mA、4-20mA,(0-20mA输入需在订货时注明)
●电阻输入:Res
●频率输入:频率信号(PI)(频率范围:0.5-5000HZ,**频率范围可定制)
●热电阻:PT100、Cu50、G53、Cu100、BA1、BA2(要求三线电阻平衡,引线电阻<10Ω)
●热电偶:S、B、K、T、R、E、N、J
●辐射高温计:F1、F2
●钨铼:WRe3-25、WRe5-26
7、输出功能:
●配电输出:变送器集中配电+24VDC,标准配电<30mA(**负载能力可定制),支持多种规格集中配电(如12VDC、5VDC配电输出)
●变送输出:*多支持2路通道的4-20mA标准电流变送输出,负载能力750Ω(**),方便了显示仪表或DCS/PLC的采集,实现了信号的长距离传输
●继电器报警输出:*多支持4路继电器报警输出,触点容量3A@220VAC/1A@30VDC,可组态上上限、上限、下限、下下限报警
8、通讯打印:
●通讯接口:RS232C或RS485,支持Modbus RTU协议,波特率----(1200、2400、9600、19200、38400、57600)
●打印接口:RS232C直接连接微型打印机,波特率1200
9、记录功能:
●记录容量:64/128/192/248MB(FLASH容量可选择);
●记录间隔:1秒至240秒,共分11档:1/2/4/8/12/24/36/60/120/180/240秒可选;
●记录时间:记录时间的长短与FLASH存储器容量、输入点数、记录间隔有关,计算公式如下(代入数值的单位要与公式中一致):
10、数据转存:数据备份和转存:支持USB 1.1 、2.0 优盘,支持1G到16G的U盘进行数据转存,兼容性强,可兼容市面上绝大多数的U盘(推荐使用工业版优盘)
11、供电电源:220VAC,50HZ交流电源供电,支持24VDC(22VDC-28VDC)直流电源供电,支持12VDC(11.2VDC-16VDC)直流电源供电
12、保护功能:
●断电保护:内置存储器保护参数和历史数据,断电后保存
●时钟保护:集成硬件时钟,掉电后也能**运行
13、误差精度:
●热电偶冷端补偿误差:±2℃
●时钟误差:±2 秒/天
14、工作环境:
●环境温度:0~50℃(避免日光直晒)
●环境湿度:0~85%R.H(无凝结)
15、仪表净重:净重:≤1.0Kg
四、产品选型
一、经济型蓝屏无纸记录仪安装接线
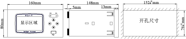
1、仪表尺寸
2、端子接线
3、交/直流电源输入接线
4、输入/输出信号接线
5、变送器接线
6、继电器触点输出接线
二、经济型蓝屏无纸记录仪操作使用
1、按键说明
2、使用模式
- 浏览:


